ЗАО 'НПК ВИДЕОСКАН'. Системы ввода и обработки изображения

Широкоугольная высокоскоростная оптическая камера для обнаружения вспыхивающих и движущихся объектов

А.В.Багров, Институт астрономии РАН, Г.М.Бескин,САО РАН,
А.В.Бирюков, САО, ГАИШ, С.Ф.Бондарь, Космотэн, И.Ю.Золотухин,САО, ГАИШ, С.В.Карпов, САО РАН, Е.И.Иванов, Космотэн, А.С.Позаненко, ИКИ РАН.

Электронная версия статьи, опубликованой в сборнике: Околоземная астрономия - 2003. Труды конференции. т.2. Терскол. 8 - 13 сент. 2003/Институт астрономии РАН. - СПб.; ВВМ, 2003. - 333 с..



Аннотация.
Описывается широкоугольная высокоскоростная камера, созданная на спутниковой станции Космотэн в сотрудничестве с ИКИ РАН и САО РАН при поддержке фонда CRDF. Камера разработана для поиска и исследования оптических транзиентов, связанных с гамма-всплесками. В тоже время ее характеристики позволяют эффективно обнаруживать и движущиеся источники излучения, как естественного, так и искусственного происхождения. На максимальной кадровой частоте 7,5 Гц в поле 22х18 градусов обеспечивается проницание около 11.5m (в системе, близкой к V) в формате разложения 1380х1024 пиксела х 10 бит. При этом точность локализации обнаруженного источника составляет около 1 угловой минуты.
Вся получаемая на максимальной кадровой частоте видеоинформация непрерывно накапливается на жестких дисках компьютера и параллельно анализируется в режиме реального времени. Предусматривается возможность передачи характеристик обнаруженных транзиентов (неподвижных и перемещающихся) в локальные и глобальные сети для подключения к наблюдениям инструментов другого класса. Полученные за типичную ночь наблюдения (8-9 часов) данные объемом около 0.5 Тбайт, могут сохраняться на дисках в течение нескольких суток для апостериорного анализа.

Широкоугольная высокоскоростная оптическая камера разработана для независимого от результатов внеатмосферных наблюдений обнаружения и исследования оптических транзиентов, связанных с гамма-всплесками, и других нестационарных источников - вспыхивающих и новых звезд, катаклизмических переменных, рентгеновских двойных, сверхновых на ранних стадиях их рождения.
Главной особенностью этих объектов является весьма малая (доли - десятки секунд) длительность вспышки в сочетании с принципиальным отсутствием возможности предсказать заранее, где и когда она произойдет. Последнее обстоятельство приводит к необходимости увеличения углового поля зрения системы, чтобы сделать его соизмеримым с полем зрения рентгеновских и гамма-телескопов (около стерадиана). В то же время кратковременность ожидаемой оптической вспышки, сопровождающей, например, гамма-всплеск (Liang et al. 1999; Eichler & Beskin 2000) однозначно предполагает использования детекторов высокого временного разрешения (Beskin et al. 1999; Vestrand et al. 2001). Сочетание этих требований создает значительные трудности в достижении необходимой проницающей способности системы. Она должна обнаруживать транзиенты, по крайней мере, слабее 9-ой зв. вел. (блеск в максимуме единственной обнаруженной оптической вспышки, сопровождавшей гамма-всплеск GRB990123 (Akerloff et al. 1999)).
Существующие (и использовавшиеся в прошлом) камеры для поиска оптических транзиентов обладают достаточно широкими полями 4x4, 16x16, 35x35 градусов, однако достигают предела в 11m-13m лишь при экспозициях 10s-60s и имеют максимальное временное разрешение около 5s-10s (Park et al. 1997; Vestrand et al 2002; Akerloff et al. 2003). Выбор нами в качестве детектора TV-CCD камеры с временным разрешением 0s.13 является, по крайней мере, разумным компромиссом и позволяет, в частности, увеличить в 5-10 раз число обнаруживаемых транзиентов при близких экспозициях (Pozanenko et al. 2002).

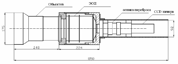
На Рис.1 приведена схема созданного нами прибора.


Рис.1 Структура широкоугольной высокоскоростной камеры.

Функции питающей оптики выполняет светосильный линзовый объектив с апертурой 150 мм и фокусным расстоянием 180 мм (светосила 1:1.2). В его фокальной плоскости размещается входное окно ЭОПа первого поколения, который обеспечивает масштабное уменьшение изображения в 4.5 раза и усиление до 140 раз.

Затем оптика переброса переносит изображение с выхода ЭОПа на матричный ПЗС-приемник цифровой камеры Видеоскан. В ней использована 2/3 дюймовая ПЗС матрица фирмы ICX285AL, имеющая формат 1380х1024 пиксела. В приемнике при максимальной кадровой частоте 7.5 Гц обеспечена возможность программно задавать время экспозиции, кадровую частоту и усиление.

Десятиразрядный АЦП установлен непосредственно в корпусе светоприемной головки приемника, и видеоинформация уже в цифровом виде по кабелю передается в компьютер, снабженный RAID0-массивом из четырех винчестеров по 120 Гбайт каждый. Эта конфигурация позволяет записывать без предварительной обработки всю информацию на максимальной кадровой частоте в течение 8 часов.

Камера установлена на экваториальной монтировке и имеет поле зрения 22*18 градусов. Проницающая сила системы ограничивается в основном фоном неба и при размере пикселя около 1' достигает в фотометрическую ночь 11.5m за 133 мсек (кадровая частота - 7.5 Гц). Спектральная характеристика чувствительности довольно близка к V-полосе.

В настоящее время эта система обеспечивает мониторинг поля зрения рентгеновской камеры WXM орбитальной обсерватории HETE-2 (Shirasaki et al 2000). Пример зарегистрированного изображения представлен на Рис.2. 


Рис 2. Вид звездного неба в созвездии Лебедя. Экспозиция 133 мс.
Изображение уменьшено в 2 раза. Для просмотра полного размера кликните на изображение.

В основу структуры матобеспечения системы положены следующие принципы.

  • Вся получаемая камерой за наблюдательную ночь информация должна быть сохранена на жестких дисках компьютера.
  • Алгоритмы обработки должны обеспечивать обнаружение событий за минимально возможное время и апостериорную обработку накопленного за ночь массива данных, например, для выявления транзиентов, совпадающих по времени с алертами рентгеновских телескопов. Такого рода экспресс-анализ (в течение 6-12 часов) позволяет сжать информацию и организовать ее долговременное хранение.
  • Обнаружение нестационарных (во времени и пространстве) событий осуществляется путем регистрации и автоматической классификации всех статистически значимых изменений в поле зрения в режиме реального времени.
  • Работа подсистемы классификации событий должна приводить к формированию алертов - оперативных сообщений о координатах и других характеристиках обнаруженных событий для детального их исследования с помощью инструментов высокого пространственного разрешения и большего диаметра.
Уже отлаженная часть матобеспечения широкоугольной высокоскоростной оптической камеры представляет собой сервер под управлением WINDOWS2000, обеспечивающий запись потока информации, передачу его в реальном времени в другой компьютер и обработку запросов до 5 клиентов по протоколу TCP/IP. Применение стандартного протокола позволяет подключать компьютеры для обработки информации под любой операционной системой, его поддерживающей. Канал выдачи потока в реальном времени использует гигабитный Ethernet, а остальные клиенты - 100Мбитный Ethernet. Режим BusMaster DMA видеограберра в сочетании с RAID0 массивом из 4-х жестких дисков и 100 Мегабайтным кольцевым буфером в памяти компьютера обеспечивает работу на скорости до 15 Мбайт/сек без пропусков кадров.

Записывающий компьютер имеет процессор Pentium-4 2.6 ГГц, 512 Мбайт ОЗУ, массив винчестеров RAID0 емкостью 480 Гбайт и дополнительный винчестер 20 Гбайт для операционной системы и приложений.

Завершена первая версия матобеспечения обработки потока данных, представляющая собой набор приложений под ОС LINUX. Как показал статистический анализ наблюдательных данных, количество алертов близко к ожидаемому для гауссова распределения интенсивности фона. Наибольшее количество значимых изменений порождается ИСЗ. В поле зрения обнаруживаются объекты со скоростями от 10-4 до 102 град/сек. В результате обработки строятся их кривые блеска и траектории. База данных для оперативной идентификации каталожных ИСЗ, ожидаемых в поле зрения в течение ночи, готовится заранее.

Программный модуль обработки событий, связанных с метеорами, в настоящее время находится в стадии разработки.

Сопоставления изображений, разнесенных на значительные интервалы времени, позволяет обнаруживать медленно двигающиеся объекты - яркие астероиды и инасаны (природные тела размерами в десятки метров, движущиеся в околоземном пространстве). Инасаны до сих пор были доступны исследованиям только вблизи радиантов известных потоков (из-за узкого поля зрения астрономических телескопов), что серьезно ограничивало возможности их изучения. Новая камера позволяет проводить их наблюдения практически независимо от расположения радиантов их орбит и угловой скорости движения, т.к. вследствие высокого временного разрешения проницание системы не снижается для объектов, имеющих скорости меньше 0,1 градуса в секунду. Это означает, что будут изучаться тела метрового размера на расстоянии 10 тыс. км и даже дециметрового размера на расстоянии 1000 км.

В дальнейшем предполагается объединение в одну систему широкоугольной камеры и автоматизированного телескопа с большей апертурой и полем зрения 10' - 20'. Такой комплекс позволит детально исследовать оптические транзиенты с высоким временным разрешением уже через несколько секунд после обнаружения. В его составе предполагается использовать телескопы Цейсс 600 САО РАН и АТТ600 станции Космотэн. Рассматривается возможность создания и второго экземпляра широкоугольной системы для проведения синхронных наблюдений с базисом в десятки километров. Это позволило бы оперативно получать дополнительную информацию о расстоянии до околоземных объектов.

Таким образом, имеются широкие и вполне обоснованные перспективы использования широкоугольной высокоскоростной камеры для решения разнообразнейших задач - от исследования всевозможных оптических вспышек в далеком космосе до наблюдения тел различной природы в околоземном пространстве.

Работы по созданию камеры были поддержаны фондом CRDF (RP1-2394-MO-02) и частично программой <Астрономия> и РФФИ (грант 01-02-17857).



Список литературы
  1. Akerloff et al. 1999, Nature, 398, 400
  2. Akerloff et al. 2003, PASP, 115, 132
  3. Beskin et al. 1999, A&AS, 138, 589
  4. Eichler&Beskin 2000, Phys.Rev.Lett., 85, 2669
  5. Liang et al. 1999, ApJL, 519, L21
  6. Park et al. 1997, ApJL, 498, L21
  7. Pozanenko et al. 2003, in ASP Conf. Ser., Vol. 295 Astronomical Data Analysis Software and Systems XII, eds. H. E. Payne, R. I. Jedrzejewski, & R. N. Hook (San Francisco: ASP), 457
  8. Shirasaki, et al 2000, SPIE 4012, 166S
  9. Vestrand et al. 2001, в "Gamma-Ray Burst and Afterglow Astronomy 2001", в печати
  10. Vestrand et al. 2002, astro-ph/0209300

Примечания Видеоскана:
  1. На нашем сайте в фотоальбоме есть фильм, снятый этой камерой.
  2. Изображения, получаемые широкоугольной высокоскоростной оптической камерой можно посмотреть в интернете:

ООО Видеоскан




Яндекс цитирования
 
Copyright ООО "ВИДЕОСКАН" (C) использование материалов без ссылки на источник запрещено.
E-Mail: mail @ videoscan . ru   0
Тел. №: +7 (495)-989-87-08 и +7(964)-579-1441